產品介紹
產品名稱:立式止回閥
產品型號:H42H、H42W
產品材質:碳鋼、不銹鋼等
公稱壓力:1.0-6.4MPa
立式止回閥主要用于垂直管道系統中防止介質倒流。閥瓣沿著中心定位作升降運動 , 襯套采用耐磨性能好,摩擦系數小的特殊材料制作,動作靈活可靠 . 密封性能優良。立式止回閥廣泛應用于石油、化工、制藥、電力行業等各種工況的管路上
立式止回閥的工作原理:
H42H系列立式止回閥能防止介質倒流,起到介質止回作用。H42H立式止回閥在進口端介質壓力高于出口端時處于開啟狀態。因為管道里進口端介質的壓力作用下,頂開立式止回閥中的閥瓣,使閥門自動開啟。當進口端介質壓力低于出口端時,彈簧將閥瓣推向閥座而使閥門關閉(注:臥式安裝下需加彈簧,立式管道安裝無需加彈簧。閥瓣在自身重量和逆流介質的壓力下,會自動關閉)
立式止回閥主要材料及性能參數
| 主體材料 | WCB | ZG1Cr18Ni9Ti | ZG1Cr18Ni12Mo2Ti | ZG2Cr5Mo | |
| 主要參數 | 適用介質 | 油品、水、蒸汽 | 硝酸類 | 醋酸類 | 油品、水、蒸汽 |
| 適用溫度 | ≤425℃ | ≤200℃ | ≤200℃ | ≤550℃ | |

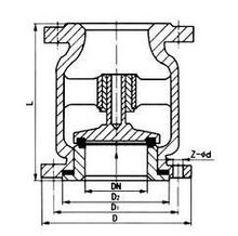
H42H立式止回閥主要連接尺寸:
| 型號 | 公稱通徑 DN | 尺寸(mm) | ||||||
| L | D | D1 | D2 | H | b | Z-Φd | ||
| H42H-16 | 15 | 130 | 95 | 65 | 45 | 77 | 14 | 4-ф14 |
| 20 | 150 | 105 | 75 | 55 | 77 | 14 | 4-ф14 | |
| 25 | 160 | 115 | 85 | 65 | 80 | 16 | 4-ф14 | |
| 32 | 180 | 135 | 100 | 78 | 85 | 16 | 4-ф18 | |
| 40 | 200 | 145 | 110 | 85 | 95 | 16 | 4-ф18 | |
| 50 | 230 | 160 | 125 | 100 | 105 | 16 | 4-ф18 | |
| 65 | 290 | 180 | 145 | 120 | 120 | 18 | 4-ф18 | |
| 80 | 310 | 195 | 160 | 135 | 130 | 20 | 8-ф18 | |
| 100 | 350 | 215 | 180 | 155 | 140 | 20 | 8-ф18 | |
| 125 | 400 | 245 | 210 | 185 | 155 | 22 | 8-ф18 | |
| 150 | 480 | 280 | 240 | 210 | 180 | 24 | 8-ф23 | |
| 200 | 600 | 335 | 295 | 265 | 215 | 26 | 12-ф23 | |
| H42H-25 | 15 | 130 | 95 | 65 | 45 | 77 | 16 | 4-ф14 |
| 20 | 150 | 105 | 75 | 55 | 80 | 16 | 4-ф14 | |
| 25 | 160 | 115 | 85 | 65 | 85 | 16 | 4-ф14 | |
| 32 | 180 | 135 | 100 | 78 | 95 | 18 | 4-ф18 | |
| 40 | 200 | 145 | 110 | 85 | 105 | 18 | 4-ф18 | |
| 50 | 230 | 160 | 125 | 100 | 120 | 20 | 4-ф18 | |
| 65 | 290 | 180 | 145 | 120 | 130 | 212 | 8-ф18 | |
| 80 | 310 | 195 | 160 | 135 | 140 | 22 | 8-ф18 | |
| 100 | 350 | 230 | 190 | 160 | 155 | 24 | 8-ф23 | |
| 125 | 400 | 270 | 220 | 188 | 180 | 28 | 8-ф25 | |
| 150 | 480 | 300 | 250 | 218 | 215 | 30 | 8-ф25 | |
| 200 | 600 | 360 | 310 | 278 | 973 | 34 | 12-ф25 | |

TEL:

E-mail us
PDF Download
Inquiry





